Part Number: BQ25713B
Other Parts Discussed in Thread: BQ25970, , BQ25890, BQ25713
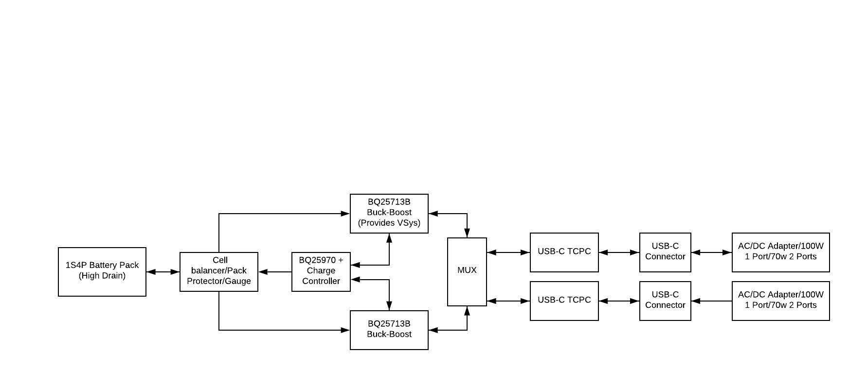
Hello, I am designing a portable 100W USB-C power bank with the BQ25970 switched cap fast charger. I was wondering if the BQ25713B would be suitable as the charge controller for the BQ25970 or if I must use the BQ25890. I plan on using 2 bidirectional buck-boost converters for the 2 usb c ports so that either can charge the battery or discharge up to 100W OTG. This would make the additional buck and boost converters on the BQ25890 unnecessary. The BQ25713B seems to be more useful for my application because of its power path management (PTM), bidirectional buck-boost, and system power monitor so I would prefer to use this IC instead of the BQ25890.
Can you confirm that the BQ25713/B works as the charge controller for the the BQ25970 so that I can buy the evaluation kit and begin development or start looking at other options?
My second question for you is, What would be the best way to implement the bidirectional buck-boost battery charger so that both USB-C ports can charge the battery or discharge to the load? Should I use 2 BQ25713B's (1 for each port)? Or would I be better off with only 1 BQ25713B to act as the system power monitor/battery charger and use a separate buck-boost converter for the load on the other USB-C port? Because there is only 1 battery I only really need 1 bidirectional buck-boost as long as either USB-C port has access to it.
Best,
Ben

