Other Parts Discussed in Thread: INA228
Tool/software:
Hello,
I am using ADS1263 for the current measurement.
My team mate has already raised a ticket having hardware queries about ADS1263,
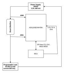
I have connected 20mOhm shunt resistor between the AI0 & AI1 pin of ADS1263.
The ADS1263 config is as below,
Gain : 32, Datarate : 4800 SPS, Ref Positive : 2.5V Internal. Neg Positive : 2.5V Internal
AI0 as Positive Input & AI1 as Negative Input, Conversion Delay : 35 us, Digital Filter : Sinc4
I have used a DP832 power supply & DL3021 DC load, a Power supply input voltage 3.3v & current of 500mA.
I have calculated shunt current as Shunt voltage difference (Read by ADS1263) / Shunt resistor.
Please let me know if my understanding of calculating current from shunt voltage difference is correct or not.
Can you please suggest any other equation to determine shunt current from shunt voltage ?
Do we have any example application notes to calculate current from voltage difference ?
The Calculated current vs Actual current are as below,
Actual current : 5 mA | Calculated current : 8.1 mA
Actual current : 10 mA | Calculated current : 8.6 mA
Actual current : 50 mA | Calculated current : 10 mA
Actual current : 100 mA | Calculated current : 15 mA
Actual current : 500 mA | Calculated current : 45 mA





