Hi team,
This is a general audio question, with target frequency range of human voice.
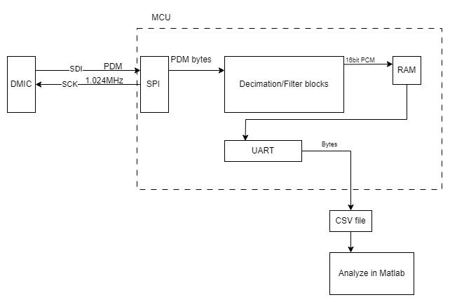
I have the following system, and trying to improve the output audio quality.

I start the test by playing a frequency sweep from this video: https://www.youtube.com/watch?v=dU80Fagdy28
The Matlab script: https://e2e.ti.com/cfs-file/__key/communityserver-discussions-components-files/6/read_5F00_evaluate_5F00_PCM.m
The PCM output from the device: pcm_data_sweep3.csv
The resulting output and tiles from matlab:
>> read_evaluate_PCM
------- PERFORMANCE METRICS -------
SNR (dB) --- -3.429719e+01
THD (percentage) --- 2.435858e+01


I am wondering if this is the correct way to measure the audio quality?
Do these values make sense?
Thanks,
Toby