Hi Experts,
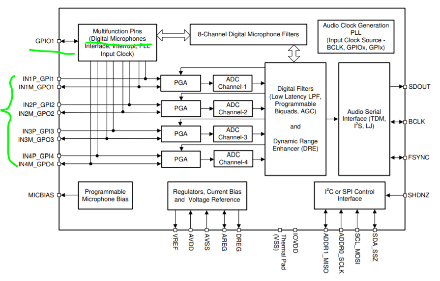
We want to check with you if we can achieve 4 analog MICs plus 1 digital MIC for TLV320ADC3140 via TDM mode, it looks like we can do this from the device block diagram, but want to double confirm with you. Thanks.
This thread has been locked.
If you have a related question, please click the "Ask a related question" button in the top right corner. The newly created question will be automatically linked to this question.
Hi Experts,
We want to check with you if we can achieve 4 analog MICs plus 1 digital MIC for TLV320ADC3140 via TDM mode, it looks like we can do this from the device block diagram, but want to double confirm with you. Thanks.
Hello Jacky,
This is a good question! The answer is unfortunately, no. The Digital microphones would require the use of at least 1 GPI (for the data) and 1 GPO (for the PDMCLK) making one of the analog inputs unavailable. Note that even if the user configured the analog inputs for singled ended, that the INxM pin could not be programed as a GPIO if INxP was needed for an Analog input.
So the ADC3140 can support
8 PDM DMICS
1 AMIC and 6 DMICs
2AMICs and 4DMICs
3AMICs and 2DMICs
or 4 AMICS
best regards,
-Steve Wilson
In addition to Steve's comments, please review the application note below which describes the possible combinations of inputs, sampling rates, and processing blocks on these devices.
TLV320ADCx140 Sampling Rates and Programmable Processing Blocks Supported