I need to get some additional analog inputs to the microcontroller. These signals are very slow (1 sample per second is enough), 12-bit res is just ok. They are also nicely in range, and required gain would be 1. However, protection (esd/ overvoltage) needs to be there.
Now, which approach is better?
1. A series 10k resistor, then tvs, then RLC filter, then clamping diodes, then directly to ADC?
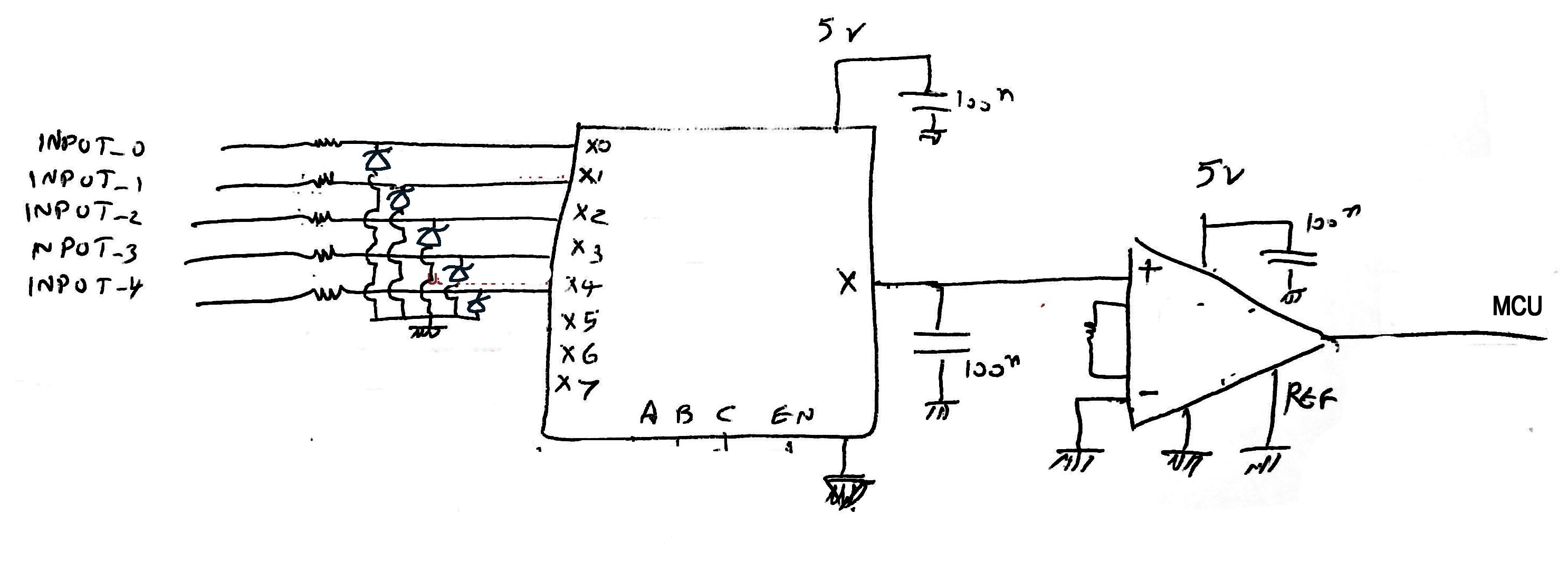
2. Doing it half externally. A 10k resistor and tvs for each channel, then multiplexer (which selects these channels instead of mcu), then RC filter, then instrumentation amplifier (Where V- and Vref is ground anyways), and then going to ADC.
Is 2 simply overkill, and does not offer any extra protection?
Would 2 provide more isolation maybe? If so, what would be a recommended design?
Having channels directly on MCU is certainly more convenient software-wise, but I wonder if the mcu may get damaged because of not doing the right thing.
If using INA, this is how I am depicting it.

