Part Number: TMS320F280039C
Hi all,
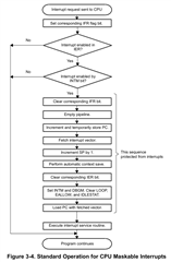
I was wondering when INTM is cleared. I am talking about the normal use case, not manually clearing it for nested interrupts or similar.
In the documentation I can see that INTM is set automatically when entering an interrupt:
I could not find any information about when this is automatically cleared. I don't clear it explicitly in the interrupt code.
Is it maybe cleared by the IRET command?
Thanks
Andreas
