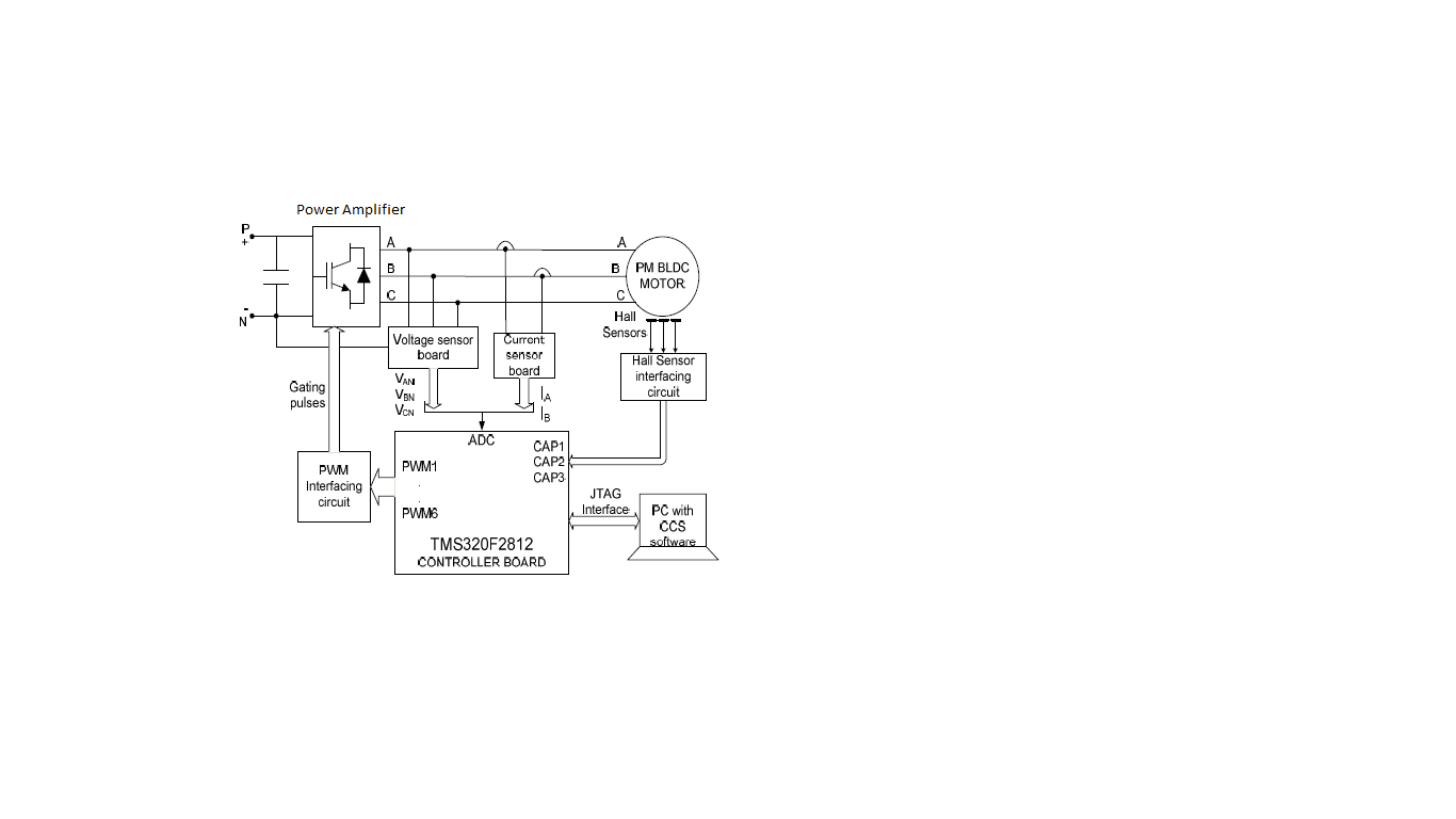
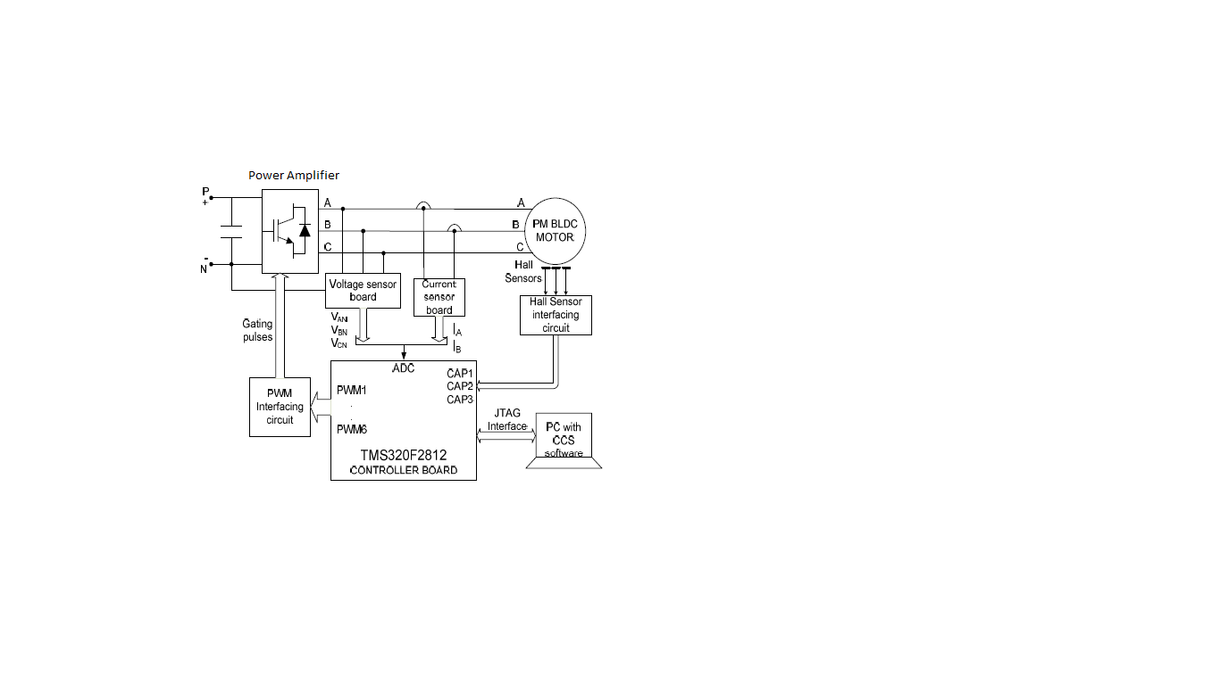
I want to use DRV8313 as Brushless DC motor driver (amplifier). I'm using the MCU TMS320F2812. Is there any additional circuit or ICs of TI to provide a interface bewteen MCU and DRV8313? or is there a simple way to connect the MCU to DRV8313?
Regards,
Joel.
