This thread has been locked.

If you have a related question, please click the "Ask a related question" button in the top right corner. The newly created question will be automatically linked to this question.

DRV10987: DRV10987SPWPR

Part Number: DRV10987

Dears,

I am placing this problem on behalf of our non-English speaking customer. Please take that in considerations, I am not a technical educated person :-) In below attached file there is table with registry numbers. 

The additional information refers to the specification of the description of the values ​​entered and read from the registers of the DRV10987SPWPR circuit. I need the clarification of this information to improve the control algorithm of the microprocessor that we use to control the speed of our three-phase synchronous motors.

In the EEPROM memory of the parameters of the chip DRV10987SPWPR (DRV10983PWPR), we upload the parameters in accordance with the manual. We have no problem with the description or setting and uploading values ​​to the chip registers, everything is completely clear. Two parameters are key, namely the motor constant Kt and the phase resistance of the winding Rf. We determine the motor constant with an oscilloscope by measuring the course of the combined voltage when the measured motor is rotated to the rated speed, with an external motor (the measured motor works as an "idle" generator). We measure the Rf value with a four-point Ohmmeter for measuring small resistances.

Both values ​​of these key parameters change to a certain extent during operation depending on the winding temperature and the motor load. However, the change of these values ​​is within the tolerance resulting from the table of adjustable Kt and Rf values. The current value of the Kt parameter can be read from the work register (Reg. 0x03). However, it is not possible to determine the exact current value of the phase resistance of the motor winding directly. However, it can be calculated with some accuracy from other values ​​read from the working registers of the chip.

The microprocessor of our control module reads from the work registers of the chip the values ​​of the parameters that we want to use for the mathematical model of our motor so that we can optimize the control algorithm of the motor.

The current value of the motor constant Kt (Reg. 0x03) is read out. Kt value [mV/Hz] is calculated

The current value of the motor period T (Reg. 0x02) is read out. The Freq frequency [Hz] is calculated and then the revolutions [RPM] are calculated according to the number of pole-pairs of the specific motor.

Note: Is the calculation of revolutions based on the value in the register (Reg. 0x01) less accurate for some reason? Why.

The current value of the supply voltage register "SupplyVoltage" (Reg. 0x05) is read out. For the purpose of this document, I choose the abbreviation Upwr. Subsequently, the corresponding value of the supply voltage Upwr [V] is calculated.

The current value of the motor current register "Motor Current" is read out, for the purposes of the document I denote it as Ix (Reg. 0x04). The corresponding current value Ix [A] is calculated.

However, here I have a problem with which current is being measured. In my opinion, it is not a DC power supply. Could it be the recalculated current according to the value of the register (Reg. 0x06) (parameter "spdCmdBuffer") or is it the current passing through the currently closed (bottom) transistor of the three-phase switching bridge? The value of the current and the place where it is measured are important to me for the correct determination of the voltage drop on the winding resistance. In principle (with considerable simplification) the engine speed or the frequency of the AC voltage on the motor is given by the equation:
Frekv = 1/Kt * ((Upwr*spdCmdBuff)/255 – Rf * Xx * Ix)                           (A)

The value of the phase resistance Rf is given by measurement, but is affected by the winding temperature. However, its correction could be calculated from the above equation according to the values ​​of the individual parameters in the stable previous state. Subsequently, I would be able to calculate, relatively accurately, by how much the value of the register (Reg. 0x06( ("spdCmdBuff") needs to be changed), i.e. subsequently calculate the new value written to the speed control register (Reg. 0x30)

It would be possible to get accurate information about the current measurement. (including the moment of measurement, if it is not a constant value).?

It is a correct assumption that the equation holds:
Ix = (Ipwr * 255) / „spdCmdBuff“                (B)


  1. Where: Ix is the motor current according to the register (Reg. 0x04); Ipwr is the current from the supply voltage source
  2. If equation (B) holds, what is the relationship between the value of Rf and Xx in equation (A). In my opinion, Xx should just be a constant, but I'm not sure about its value, because it could be affected by the value of the load angle (that is, the phase shift between the phase voltage and the phase current), which is one of the parameters that are recorded in the registers of the DRV10987SPWPR chip ?
  3. If it would be difficult to answer the above-mentioned questions, it would be possible to obtain from Texas Instruments an algorithm according to which the values ​​in the work registers are worked with, or directly an equation expressing the relationship between the work frequency and the measured parameters in the registers of the DRV10987SPWPR chip:

    Frekv = FUNKCE (Kt; Rf; Upwr; Ix; spdCmdBuff)               (A2)

 Doplnkove_informace_DRV10987SPWPR (003).docx

  • Hi Michaela,

    Our device expert, Vishnu, is out of office for this week on business travel - he will be back next week to address your questions.

    Please anticipate a delayed response and we'll get back to you at the timeframe mentioned above 

    Best Regards, 
    Andrew 

  • Is the calculation of revolutions based on the value in the register (Reg. 0x01) less accurate for some reason? Why.

    Yes, you are right. The Motor speed read from the register 0x01 has up to 6% error. I would recommend reading the Motor period and calculate the inverse of it to get accurate motor speed. 

    Regarding the current measurement question, the value that you read back from 0x04 will give you the phase current of the motor. However, if you wish to measure the frequency of the AC input voltage to the motor, it is same as the motor speed as described in my previous statement. 

  • Here is a follow-up question on current measurement. The question is, what is the value of the phase current, i.e. the reading, in register 0x04?
    I am attach ing pictures for better illustration:
    Block diagram of the power stage connection.



    My thoughts on the formula for creating an engine model:
  •   <-Thoughts

    1) Where the current is measured, the value of which is stored in register 0x04. In my opinion, this could be where the IM current is measured.
    2) If the current is measured in the winding position, see the figure. Then the above equation could apply, right?
    (For the sake of simplicity, the influence of the winding inductance, which is very small in our motor, is not included here. Resp. the influence of the phase shift between the phase current and the phase voltage on the winding.)
    3) If the current is measured at the moment when the winding is in the indicated position, then the current IM is equal to the current IF of the phase that is currently connected to the PGND potential.

    ---- thanks for your help here. Please be aware I am not technician and I am translating customer´s questions --

    Michaela
  • Hi Michaela,

    Today is a US holiday, so many of our team members are out of office currently, returning later this week - please anticipate a delayed response 

    Best Regards, 
    Andrew 

  • Michaela,

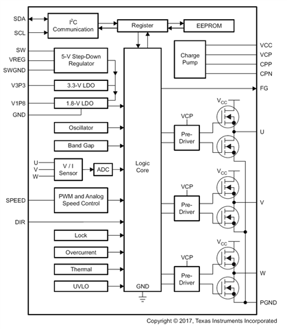
    Phase current in DRV10987 is measured internally using a current mirror circuit. This circuit measures the current flowing through the low side and high side FETs in phase U. Values readback from 0x04 is the peak value of phase U current.

    Regards,

    Vishnu

  • Hello Vishnu, can you please confirm this statement?

    From the answer, I conclude that the current is measured in the "U" phase branch, and that for both FET transistors.
    Since this is the maximum value of the current, the current measurement of the phase "U" for the "upper FET" should take place at the moment when the phase "U" is connected to the voltage Vcc and at the same time the phases "V" and "W" are connected to neutral potential of PGND.
    Similarly, i.e. mirror-like, the measurement of the phase "U" current for the "bottom FET" should take place at the moment when the phase "U" is connected to the zero potential of PGND and at the same time the phases "V" and "W" are connected to the voltage Vcc.
    T

    Thanks for your time!
    Michaela
  • Michaela,

    DRV10987 uses 180 degree sinusoidal commutation technique to switch the FETs. I'm assuming you are referring to DC bus current as the "maximum value". Please note that the value read back from the current register is not maximum current or DC bus current. It is the current flowing through phase U. In this commutation method, DC current will split through any two phases so the phase current U is not the DC current. 

    Regards,

    Vishnu

  • Michaela,

    DRV10987 uses 180 degree sinusoidal commutation technique to switch the FETs. I'm assuming you are referring to DC bus current as the "maximum value". Please note that the value read back from the current register is not maximum current or DC bus current. It is the current flowing through phase U. In this commutation method, DC current will split through any two phases so the phase current U is not the DC current. 

    Regards,

    Vishnu