This thread has been locked.

If you have a related question, please click the "Ask a related question" button in the top right corner. The newly created question will be automatically linked to this question.

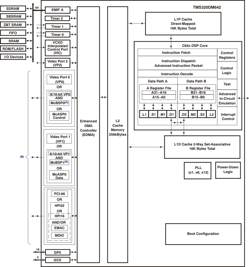
CCS/TMS320DM642: Can EMIF and Video Port can work at the same time ?

Part Number: TMS320DM642

Tool/software: Code Composer Studio

Hi TI Experts, 

In the below block diagram, may I input image signals into EMIF and Video Port, and let EDMA deal with them at the same time?

I have tried it step by step in my coding with CCS tool, but it will stop working.

And if I turn off EMIF or Video Port, and only work one of them, it works well.

Is this issue about databus sharing?

If yes, how do I do to work both in the same time?

Or I should change solution?