Part Number: TVP5146M2
Tool/software:
I need to bring in NTSC analog video similar to a DVD player into PC running Windows 11 via Ethernet, PCIexpress , USB, etc?
I can then use software like VLC to record the video. Very similar to security camera. No AUDIO!
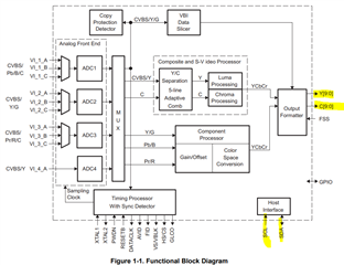
Can tvp5146m2 do it?
We used TW6869 but there no Windows (10 or11) drivers anymore

