If the MSP430FR5989-EP IC were ever in a hung state (for whatever reason) is a reset on the /RST line sufficient to always trigger the MSP to reboot? Or, alternatively would a full power cycle of the supply voltage be preferred?
If the MSP430FR5989-EP IC were ever in a hung state (for whatever reason) is a reset on the /RST line sufficient to always trigger the MSP to reboot? Or, alternatively would a full power cycle of the supply voltage be preferred?
Hi Marcio,
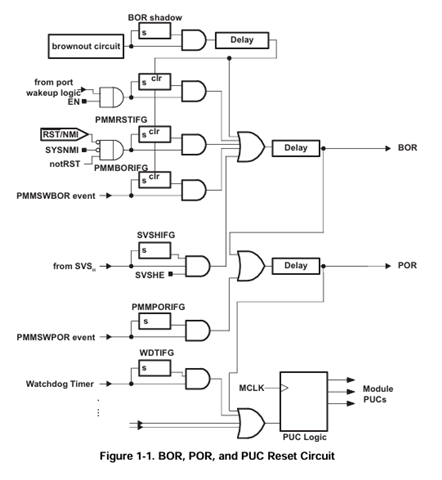
Both a low signal on the /RST pin and a full power cycle will trigger a BOR reset in device, so they are both the highest level of reset in device and should have a same impact. Please refer to 1.2 System Reset and Initialization of MSP430FR58xx, MSP430FR59xx, and MSP430FR6xx Family User's Guide (Rev. P) for details.

**Attention** This is a public forum