This thread has been locked.

If you have a related question, please click the "Ask a related question" button in the top right corner. The newly created question will be automatically linked to this question.

Issues with DM6437 display

 

Hello Davinci Champs,

 

Need some help.

 

We are using DM6437 SoC and we want to display digital image in VGA resolution (640x480) using YCC8 interface. But we don’t have any hardware (display device) to test this digital video output.

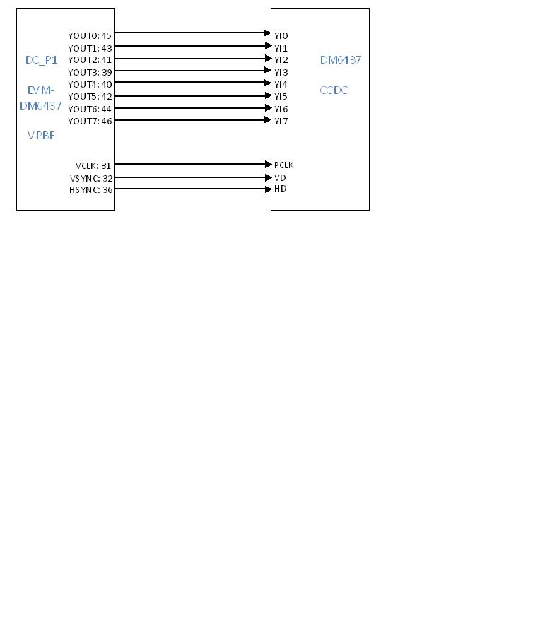
So to test this we have designed an interface board. This board connects VPBE of EVM-DM6437 with VPFE of DM6437 on our customized board. Below is the diagram of interface board.

 

We have configured the VPBE of EVM-DM6437 in YCC8 display mode as directed in VPBE user guide. And we’ve also configured CCDC of DM6437 (customized board) in 8-bit YCbCr4:2:2 capture mode.

We display a test image from EVM. But when we receive this on CCDC, the data is not proper. Alternate Y components are missing. And also range of pixels (all components) are truncated from 0-255 to 16-239. Please guide us on how to resolve this issue.

 

Also, there is no test code available for VPBE YCC8 display mode, as well as CCDC 8-bit YCbCr capture mode. If possible, can you share any test code for these modes?

 


 

 

Thanks & Best Regards

Feroz

 

  • Can you share your latest configuration please – on e2e?

     

    Have you looked at the http://processors.wiki.ti.com/index.php/How_to_program_VPBE_YCC8_digital_out? This should have YCC8 specific configuration details wrt OSD and VENC.

     

    Regards

    Feroz

  • Questions from Anshuman:

     

     

    By the way, can you let me know what exactly happens when you say that alternate Y is missing? Is it 0 or some junk value or you don’t get alternate Y at all? Have you checked using the scope whether the bus shows valid alternate Y values? You can pass a fixed pattern from the VPBE and check on scope.

     

    The reason of problem can be anywhere, either on VPBE or VPFE. If we can eliminate it with the scope trace, then we can focus on one of the components.

     

    Best Regards

    Feroz

     


  • Cusomter response:

     

    The "alternate Y is missing" means that we don’t get alternate Y at all.

    e.g. I am sending the UYVY pattern with values 0x10,0x20,0x30,0x40 respectively from VPBE side and receiving 0x10,0x20,0x30,0x20 at CCDC side.

     

    Thanks for suggestion of using DSO for analysis.

     

    We are dealing with following configuration and if you can provide the register configuration set for it, it will be really speed up the procedure.

    Image details required at output of VPBE(Digital-YCC8, 27 MHz, Progressive):

    Image Width: 544

    Image Height: 360

    Image Pitch: 544*2

    Please let us know, if you need any more details in order to get the register configuration set for YCC8 output.

     

    Will keep you updated about the progress. 

     

    Best Regards

    Feroz