This thread has been locked.

If you have a related question, please click the "Ask a related question" button in the top right corner. The newly created question will be automatically linked to this question.

TMS320C6655: POR_N in relates to SYSCLK1/2/..7

Part Number: TMS320C6655

Tool/software:

Hello, 

I'm having an issue with SW loading on TMS320C6655 which led me to investigate the RESETs and Power sequence of the device. 

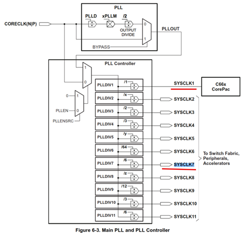
According to datasheet, POR_N shall turn high only after SYSCLK1 is already stable: 

Now I'm testing it in lab. I pulled high the Resets in the correct sequence according to datasheet (First: RESET_N, Second: POR_N, Third: RESETFULL_N) and all of them were pulled high only after all power rails were already high (CVDD, CVDD1, 1.8, 1.5). 

From some unclear reason, I see that sysclkout (7) gets stable only after POR_N is pulled high and it doesn't matter how much time I take as a delay between RESET_N till POR_N   

Can you please clarify why is it happen ? 

Ohad