Hello,
I have some questions about the PRUSS / ICSS.
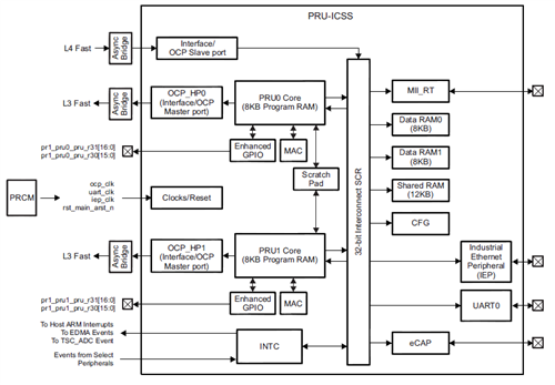
1. How are the PRUS connected to the ARM core? In the Sitara EtherCAT whitepaper there is the following figure:
How are the arrows in the red circles realized?
In the Technical Reference Manual I read about a mailbox peripherial component on the chip. This makes sense for non-cyclical data, but how is the PDI realized?
2. In the AM335x datasheet there is a "functional block diagram" which shows "64K shared RAM". Is this used by ARM and PRUs?
If yes: How is it connected to the components and how fast is it?
I hope someone can help me getting started with the ICSS. I'm a bit confused because the Technoical Reference Manual doesn't contain any further information on the PRUSS and I didn't find a seperate document.
Regards,
Robin