OPA828: I need suggestion for simple inverting/non-inverting single ended preamp for a ICE Power 200AS1 amplifier

Part Number: OPA828
Other Parts Discussed in Thread: DRV134, OPA134, OPA1642, THP210, THS4551

Tool/software:

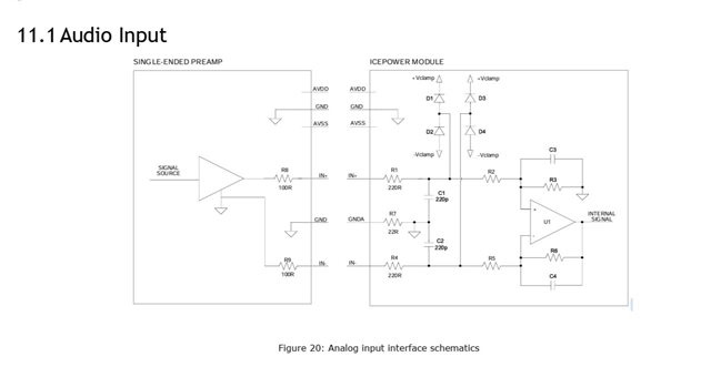
I'm working on designing a Guitar DSP powered Speaker to use as power amp and speaker for popular Guitar DSP pedals. Im using the ICEpower 200AS1 power amp module because it has inegrated power supply and auxilary rail power to power a preamp circuit.  I would like to use a OPA828 or any  High-end BB Op-amp you recommend. Can you provide me with a suggested schematic configuration to work with the attached diagram from ICE power to use a TI Op-amp on the single ended pre-amp on the front??

 After further research I found Im really asking for a Single ended input to Balanced Line driver and that led me to a THAT1646 which then led me find the TI equivilent DRV134 Audio balanced line driver. Is this the best solution?

 ICEpower_200AS1_datasheet_1_4.pdf

Thanks You

E Williams

  • E.  Williams,

    I think I will need a little more information to fully help you with this issue.  The OPA828 has an output short circuit limit of 50mA and the DRV134 has a short circuit limit of 85mA.  The module you are mentioning has a very high power output.  I think that you are likely developing a new version of the ICEpower 200AS module and the devices you are asking about are just one low power element in the signal chain of what you are developing.  Please help me to better understand the role that the "Single ended input to Balanced Line driver" circuit needs to play.

    If the "Single ended input to Balanced Line" circuit doesn't need to be very high power, then I think both the OPA828 and DRV134 are good options.  The DRV134 has the benefit of being an integrated solution.  This will reduce your PCB board area.  The integrated resistors are high quality matched thin film resistors which will have great matching, and drift performance.  Maybe most important is the entire building block is characterized in the data sheet so you know your distortion and noise numbers are accurate for the block.  The disadvantage of the DRV134 is that since the device is integrated the flexibility is limited.  This isn't an issue if you are satisfied with the operation of the DRV134 and it has all the features you need.  The OPA828 low noise, low distortion JFET op amp.  You could build a topology similar to the DRV134 discretely with the OPA828.  This device would make a great audio amplifier, but there are many options:  OPA1642, OPA134 and others. 

    One nice thing about using the op amp solution as opposed to the integrated solution is that you can try different amplifiers and you can substitute different amplifiers without a major redesign.  Most op amps are interchangeable but will have different performance. Thus, when your PCB is laid out you can try a few options and compare the differeht tradeoffs (e.g. distortion, noise, power consumption, cost).

    In order to give a  more detailed recommendation, I need to better understand the application.  I think this is intended for a low power translation of a single ended to differential signal.  I think the power stage is later in the chain.  The parts recommended above are low distortion, low noise, JFET devices that will work well in this kind of application.  Sorry if I missed something that could help further refine the solution.  

    Best regards, Art

  • So what I need is to take a single ended line level signal like from a guitar pedal  device or DSP and convert it to a balanced inverted/non-inverted signal to feed the ICEpower amplifier. 

  • Ervin,

    Thanks for the confirmation.  There are several approaches that can be used for this kind of conversion.  I will use the term "fully-differential" to denote "balanced inverted/non-inverted signal".

    1. Here is a generic op amp single ended to fully-differential: https://www.ti.com/lit/an/sbaa265a/sbaa265a.pdf.  One disadvantage of this circuit is that it will introduce a small group delay on one path that is different from the other path.  The advantage of the circuit is simplicity.
    2. The DRV134 is basically a derivation of the circuit described above.  It avoids the group-delay issue by adding an additional op amp.  The signal is applied to the first amp as a buffer or gain stage.  The output of this amp is applied to an inverting and non-inverting stage.  The noise gain of the two output stages is the same so the bandwidth of the two output stages is the same.  Thus, the inverting and non-inverting path have the same group delay.  If you would like to do a discrete op amp design, but don't want the group delay issue, you could use the DRV134 approach discretely.
    3. Here are two generic op amp + FDA for converting single ended to fully-differential:  The two implementations look almost the same, but one is for a unipolar input signal (positive only) and the other is for a bipolar signal (swings from negative to positive).  bipolar-sbaa246b.pdf , unipolar-sbaa264b.pdf .  One disadvantage for the FDA option is that most FDA are higher speed and designed for higher speed ADC drive.  In one sense this is a disadvantage because you have extra bandwidth and power consumption that may not be needed for your audio application.  However, the wider bandwidth devices do have excellent noise and distortion.  The THP210 is an example of a lower bandwidth precision FDA.  The THS4551 is a higher speed device but would work well.  Note that the THS4551 data sheet discusses using the device as an audio ADC driver.

    Those are the three approaches that I can think of.  I can offer further assistance with component selection once you choose your path.  I think all options have advantages and disadvantages.  

    Best regards, Art