Part Number: DP83640
Other Parts Discussed in Thread: RM46L852,
This is the RM46L852 and DP83640 interface circuit diagram.
Default is mii interface and rmii interface is optional.
.
RM46L852

DP83640


This thread has been locked.
If you have a related question, please click the "Ask a related question" button in the top right corner. The newly created question will be automatically linked to this question.
Hi Cho,
I will review the schematic and get back to you in 5 business days.
Thanks,
David
Hi Cho,
Here are my comments:

Thanks,
David
Are there no problems with other circuits?
What modifications do I need to make in the schematic to make it work with RMMI?Are there no problems with other circuits?
What modifications do I need to make in the schematic to make it work with RMMI?Hi Cho,
Please see section 5.4.1 of the datasheet for information on the different MAC interfaces.
Thanks,
David
Hi David
In the circuit diagram above, what should I do with the resistor chip option(DNI or Insert) to make it work with RMII?
I would appreciate it if you could give me a list of the above.
Hi Cho,
These are the signals which are required for RMII. Does this answer your question?

Thanks,
David
Dear David
In order to operate as RMII, can I process the resistors as shown in the table below?
| Net | Option Resistor | RMM | RMII |
| ETH_MII_COL | R527 | Insert | DNI |
| ETH_MII_CRS | R517 | Insert | Insert |
| ETH_RX_DV | R504 | Insert | DNI |
| R505 | DNI | Insert | |
| ETH_RX_ER | R502 | Insert | Insert |
| ETH_RX_CLK | R501 | Insert | DNI |
| R500 | DNI | Insert | |
| R558 | DNI | Insert | |
| R561 | Insert | DNI | |
| R559 | DNI | Insert | |
| ETH_RXD0 | R506 | Insert | Insert |
| ETH_RXD1 | R507 | Insert | Insert |
| ETH_RXD2 | R508 | Insert | DNI |
| ETH_RXD3 | R509 | Insert | DNI |
| ETH_TX_CLK | R510 | Insert | DNI |
| ETH_TXD0 | R511 | Insert | Insert |
| ETH_TXD1 | R512 | Insert | Insert |
| ETH_TXD2 | R513 | Insert | DNI |
| ETH_TXD3 | R514 | Insert | DNI |
| ETH_TX_EN | R515 | Insert | Insert |
Hi Cho,
This looks okay except for the RX_CLK selection. Since you will be operating in RMII Slave mode, the RX_CLK pin is unused. Please DNI R500 as RX_CLK should not be connected to the 50Mhz oscillator.
Thanks,
David
Dear David
The RM46_HDK_SCHEMATICS_REVE reference circuit diagram is as follows.
Shouldn't I have to INSERT R311DNI and R136 to work with RMII?
RM46L852



Hi Cho,
Do you want to use RMII master mode or RMII slave mode?
Thanks,
David
Dear David
thanks for your quick answer!
I am confusing below comments.
Dear
We have RM46_HDK_SCHEMATICS_REVE schematic in your reference design.
We want to config with mii interface between rm46l852 and DP83640 in your reference shematic.
what needs to change...
Read more.Yes, it is correct.
Hello Cho,
20th Feb is a US public holiday. I'll let David respond as soon as he is back to office.
--
Regards,
Gokul.
Hi Cho,
The confusion here is regarding RMII master mode vs RMII slave mode. Each will have their own unique clock configuration. Please see the following from the datasheet.

Thanks,
David
Dear David
If it operates in slave mode, should I select the resistor option as shown below?
"this looks okay except for the RX_CLK selection. Since you will be operating in RMII Slave mode, the RX_CLK pin is unused. Please DNI R500 as RX_CLK should not be connected to the 50Mhz oscillator."
Dear David,
For reference, below is the rmii-related timming in the rm46l852 chipset specification. In the schematic, pin K19 of the RM46L852 is identified as the RMII REF Clock. If following your guide how should I handle the RMII REF Clock input on the RM46L852?



Thanks,
Cho
Hi Cho,
"this looks okay except for the RX_CLK selection. Since you will be operating in RMII Slave mode, the RX_CLK pin is unused. Please DNI R500 as RX_CLK should not be connected to the 50Mhz oscillator."
This statement is correct. In RMII slave mode, the RX_CLK pin is unused and should not be connected to the 50mhz oscillator.

In RMII master mode, the 50-MHz clock is output on RX_CLK pin for use as the reference clock for an attached MAC.
Thanks,
David
Hi Cho,
Please see the following part of the datasheet as it summarizes your question very well.

Thanks,
David
Dear david
I know what you say, so i wil do not insert R501 in RMII salve mode.
My question is how should I handle the RMII REF Clock input on the RM46L852?
Please refer to review from jagadish gundavarapu.
Thanks,
Cho
Hi Cho,
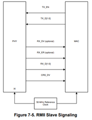
The guidance from jagadish gundavarapu is correct for RMII slave mode.
In RMII slave mode, both the PHY and the MAC will operate off a 50MHz oscillator.

In RMII master mode, the PHY will operate off a 25MHz crystal connected to XI and XO, and will provide the 50Mhz reference clock for the MAC on the RXCLK pin.

Thanks,
David
Dear David,
Thanks for your quick response.
Is the resistor setting correct as shown in the table below to operate in RMII slave mode?
| Net | Option Resistor | MII | RMII |
| ETH_RX_CLK | R501 | Insert | DNI |
| R500 | DNI | Insert | |
| R558 | DNI | Insert | |
| R561 | Insert | DNI | |
| R559 | DNI | Insert |
Thanks,
Cho
Hi Cho,
Please see the following.
| Option Resistor | MII | RMII Slave | RMII Master |
| R501 | Insert | DNI | Insert |
| R500 | DNI | DNI | Insert |
| R558 | DNI | Insert | DNI |
| R561 | Insert | DNI | Insert |
| R559 | DNI |
Insert |
DNI |
Thanks,
David
Dear david
Thank for your quick answer.
The guidance from jagadish gundavarapu is correct for RMII slave mode.
If upper guidance is right.
R500 should be inserted for reference clock on pin k19 of RM46L852?
Hi Cho,
R500 should not be inserted for RMII slave mode. In slave mode, R558 is inserted to connect the 50Mhz oscillator to the microcontroller's reference clock. RX_CLK in unused in RMII slave mode as shown in the datasheet and should not be connected to the microcontroller's reference clock. This is in accordance with jagadish gundavarapu guidance.
All the information you need is included in the datasheet and above in this post. I will close this thread now.
Thanks,
David
Thank you for quick response. Please check if the RMII_REFCLK circuit connection is correct.

